全国足疗信息论坛分享,51龙凤茶楼论坛合肥,全国茶楼信息网官网,辽宁楼凤论坛qm

聚焦瑞凯,传递环境检测行业新动态

高温高湿试验箱故障分析及解决方法

作者: salmon范 编辑: 瑞凯仪器 来源: m.94ww99.cn 发布日期: 2019.10.17
    双95高温高湿试验箱(95℃,95%RH)也称“恒温恒湿试验箱”是新能源领域光伏产品做耐候实验必备的实验仪器,该产品通过加热丝加热空气,加湿器加热水产生蒸汽,通过风扇循环风使箱体内恒温恒湿,通过温度和湿度传感器反馈温湿度,使箱体内达到设定的要求。耐候实验持续时间长,设备不间断连续运转,在长周期运转过程中设备易出现故障。

    一、故障诊断及解决方法

    设备故障诊断是指在设备运行中或在基本不拆卸的情况下,通过各种手段,掌握设备运行状态,判定产生故障的部位和原因,并预测、预报设备未来的状态,从而找出对策的方法。该老化箱具有自诊断功能,即一旦发生故障,蜂鸣器就起鸣,仪表的显示屏上显示出故障的名称。常见的故障名称和内容如下:

故障处理方法

    二、故障原因分析

    故障的分类:
    1) 按照故障发生、发展的进程分类,分为突发性故障和渐发性故障;
    2)按故障的性质分类,分为自然故障和人为故障。统计发生的故障原因,造成高温高湿试验箱故障主要由以下几方面原因造成,
    (1)箱体内供水系统是循环水路,是靠一连续运转的水泵持续供水。 箱体内放置试样是化学涂料,老化实验时涂层裸露在老化箱内,在长时间高温高湿的情况下有脱落现象,造成水路污染,箱体内卫生清洗不及时,造成水泵故障,供水间断,设备停机。
    (2)箱体内放置的试样较多,箱体内循环不好,温、湿度探头传感错误,造成故障?;?。
    (3)操作人员误操作,使超温?;て魃瓒ǖ奈露戎当坏髡?,造成设备超温报警,设备?;?

    综合分析,造成故障?;脑蚨辔宋シ⒐收希诖?,制定预防措施。

试验箱内部

    三、预控措施

    1、明确设备能力,严禁超负荷使用设备。
    (1) 设备对放置环境要求,可运行的环境温度:允许范围0~+40℃,性能保证范围+5~35℃。
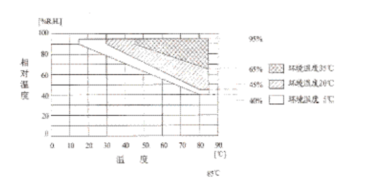
    (2)设备性能,温度范围:环境温度加10℃~+85℃ (环境温度小于35℃)。湿度范围:可控制湿度范围如下: 
    (3) 运行前检查超温?;て魑露仁欠竦髡冢何露壬瓒ǖ慵樱?℃~10℃)之间。

    2、完善制度管理,提高设备管理水平。无规矩不成方圆,完善的制度并强有力的贯彻实施是提升管理的关键。为了有效的保证制度的完善、执行的到位,制定各项管理办法及监督检查规定。制定责任人,制定了维护保养办法,点检规定,明确各级管理者、使用者的责任,定期巡检检查执行情况。

温湿度范围图

    3、完善维修、维护体制,提高管理人员素质。明确高温高湿试验箱的使用者首先是设备的维护者,应根据实际情况制定奖惩明确的激励机制,积极调动员工的责任感和主人翁意识,将设备正常运行放到位。 各级管理者将工作重点放在设备运行状态监测上,使用人员准确无误的记录设备使用中各项指标,确定设备整体运行状态的好坏,对设备故障做出早期预测、诊断、排除,通过培训提高责任人的维护技能,做到定期维护保养,将故障消灭在萌芽状态,降低设备?;奔洌岣呱璞冈诵锌煽啃?。
    4、备件管理。完善备件管理,与设备厂家及采购部]积极沟通,快速采购备件。另外充分发掘资源,充分利用其它部]闲置的设备作为备件,部分功能丧失的设备也做备件处置,充分利旧,提高维修效率,也降低维修成本。
    5、更新购置高温高湿试验箱,需满足使用需求。高温高湿试验箱本身就是物化了技术,是在实物形态上体现着劳动资料形成的知识和科学成就。在现代市场经济形势下,科技是企业第 生产力,要想企业有竞争力,产品的品质有竞争力,离开技术设备是万万不行的。在企业发展资金不足的情况下,仍要考虑多种途径促进设备的更新换代。
    6、加强队伍建设,提高人员职业化素养。人是生产力,科学的使用设备、精心的维护,能补偿设备的老化。为了提高员工的综合职业素质,人才培养应该放在首位,多开展操作规程及维护保养的培训工作。上岗培训对于每一位新上岗,在上岗前必须经过安全、设备、以及综合管理制度等全方位的培训,具备上岗资格后方可上岗。
【相关推荐】
查看详情 + 上一条 瑞凯仪器可靠性环境试验设备,高低温试验箱稳定性高品质好
查看详情 + 下一条 电子衡器高低温老化试验室的研制

东莞市瑞凯环境检测仪器有限公司 版权所有

备案号:粤ICP备11018191号

咨询热线:400-088-3892 技术支持:瑞凯仪器 百度统计

联系我们

  • 邮箱:riukai@riukai.com
  • 手机:189 3856 3648
  • 座机:0769-81019278
  • 公司地址:东莞市横沥镇神乐一路15号

关注我们

  • <a title="瑞凯仪器客服" target="_blank" href="javascript:void(0);"></a>客服微信